Дубинин Никита Андреевич
Российский инженер и предприниматель.
Изобретатель с практическим опытом в области технологий быстрого разогрева продуктов питания. Специализируется на разработке систем приготовления продуктов питания, сочетающих энергоэффективность и стабильность технологического процесса. Огромное внимание уделяется сфере автоматизации приготовления продуктов питания и фастфуда, сочетая нестандартные технологические решения и понимание будущих тенденций в пищевой отрасли.
Изобретатель с практическим опытом в области технологий быстрого разогрева продуктов питания. Специализируется на разработке систем приготовления продуктов питания, сочетающих энергоэффективность и стабильность технологического процесса. Огромное внимание уделяется сфере автоматизации приготовления продуктов питания и фастфуда, сочетая нестандартные технологические решения и понимание будущих тенденций в пищевой отрасли.
Научная деятельность и патенты
Активная научно-исследовательская деятельность связана с формированием собственных методик и инженерных подходов к скоростной термообработке пищевых продуктов.
Никита Дубинин - автор запатентованных решений в области автоматизации пищевого оборудования.
Каждая разработка — результат многолетней инженерной практики и поиска нестандартных подходов.
Автор научных статей и прикладных разработок, ориентированных на промышленное применение. Основной фокус — создание инновационных решений, обеспечивающих равномерный нагрев, снижение потерь качества продукта и оптимизацию производственных циклов.
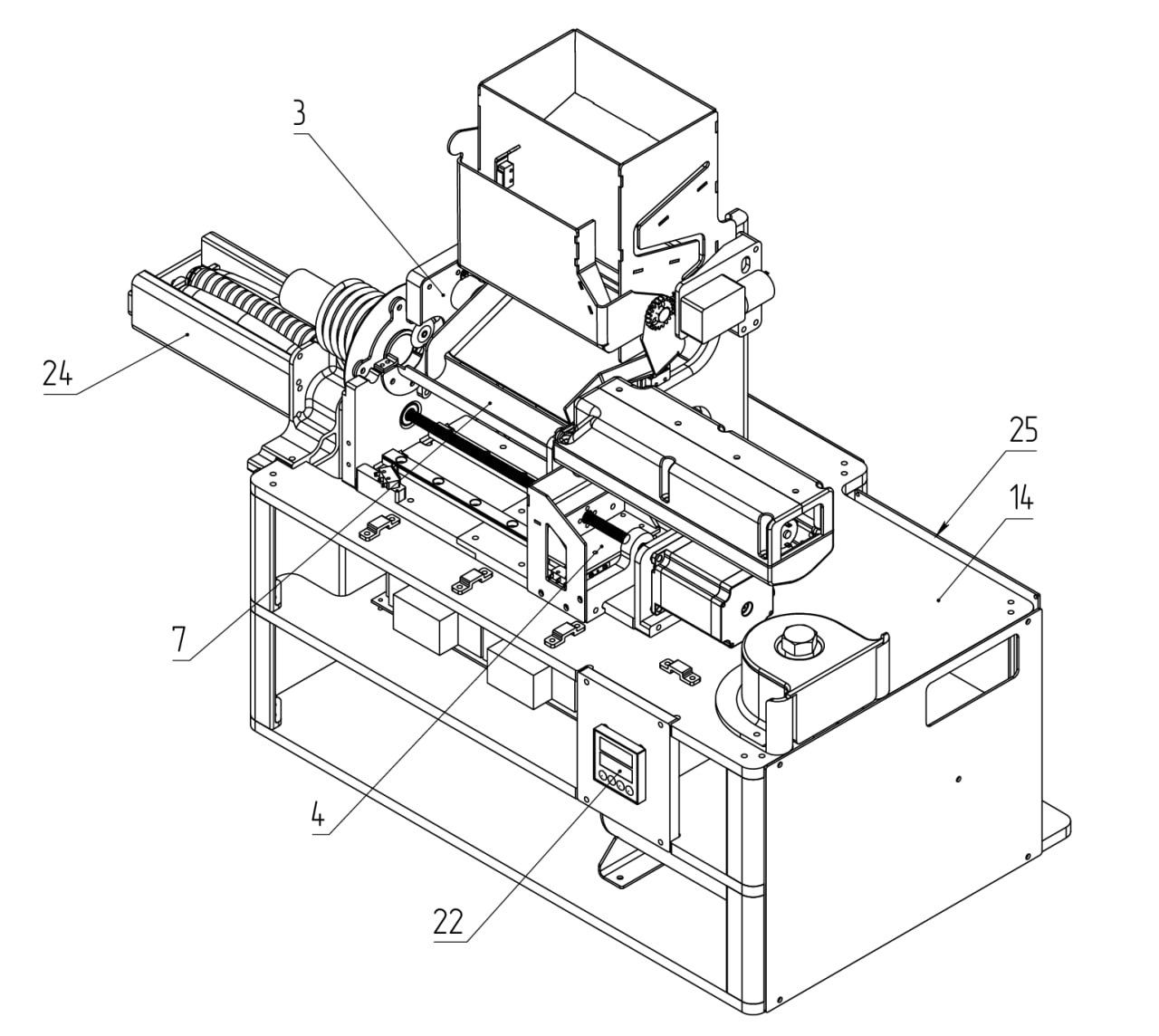
*Чертёж устройства для мгновенного разогрева
Инженерные услуги
Опираясь на многолетний опыт в области проектирования и разработок практических решений для рынка, автор оказывает профессиональные услуги связанные с разработкой и автоматизацией процессов производства или работы оборудования.
Профессиональная консультация поможет быстро решить проблемы на этапе разработки или запуска оборудования, сэкономит ваши средства и позволит посмотреть на вопрос с другой стороны.
При запросе на разработку вы получите детальное предложение и возможность создать действительно стоящий продукт. Огромные возможности и признание автора позволяют привлекать других топовых специалистов для решения самых сложных проблем.
По вопросам сотрудничества:
E-mail: info@pinchpita.com